Gửi email cho chúng tôi

sdepochwater@hotmail.com

Tin tức

Đặc điểm và phân loại van cổng


Van cổng hay còn gọi là van tấm cổng là loại van có bộ phận đóng mở là tấm cổng, được dẫn động bởi thân van để di chuyển tấm cổng lên xuống.


Đặc điểm của van cổng


1) Ưu điểm của van cổng: Khả năng cản dòng chất lỏng thấp; Mô-men xoắn cần thiết để mở và đóng là nhỏ. Hướng dòng chảy của môi trường không bị hạn chế. Không có hiện tượng búa nước khi đóng mở. Cấu trúc hình dạng tương đối đơn giản và quy trình sản xuất tốt hơn.


2) Nhược điểm của van cổng: Chúng có kích thước bên ngoài và chiều cao lắp đặt tương đối lớn, đòi hỏi không gian lắp đặt đáng kể. Trong quá trình đóng mở, bề mặt bịt kín có ma sát tương đối, dẫn đến hao mòn đáng kể. Ngay cả ở nhiệt độ cao, nó vẫn dễ bị trầy xước. Van cổng thường có hai bề mặt bịt kín, điều này gây thêm một số khó khăn trong quá trình xử lý, mài và bảo trì.


Van cổng có nhiều ứng dụng. Nó thường được sử dụng cho đường ống cấp nước có đường kính danh nghĩa từ DN50 trở lên.



Phân loại van cổng


Van cổng có thể được phân loại theo phương pháp kết nối thành van cổng ren, van cổng mặt bích và van cổng hàn. Theo đặc điểm cấu trúc, chúng có thể được chia thành các tấm cổng song song và các tấm cổng nêm. Dựa trên cấu trúc của thân van, chúng có thể được phân loại thành van cổng thân (thân nâng) riêng biệt và van cổng thân ẩn (thân xoay).




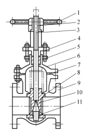
1) Van cổng đôi song song thân mở: Van cổng đôi song song thân mở được thể hiện trên Hình 1. Cổng của nó bao gồm hai đĩa đối xứng và song song. Khi cổng hạ xuống, nêm trên cùng đặt ở dưới cùng của cổng làm cho hai cổng mở rộng ra ngoài và ép chặt vào bệ van, do đó đóng chặt van. Khi cổng nâng lên, nêm sẽ tách ra khỏi đĩa. Khi đĩa nâng lên đến một độ cao nhất định, nêm sẽ được nâng lên nhờ các phần nhô ra trên đĩa và nâng lên cùng với cổng. Van này có cấu trúc đơn giản. Việc xử lý, mài và bảo trì bề mặt bịt kín của nó đều đơn giản hơn so với van cổng nêm. Tuy nhiên, hiệu suất bịt kín của nó tương đối kém. Nó phù hợp với môi trường có áp suất không quá 1,0MPa và nhiệt độ không quá 200oC.



Hình 1: Van cổng đôi song song thân nâng


1. Tay quay 2- đai ốc trục van 3- trục van 4 - đệm kín 5 - đệm kín 6 - nắp van

7 - Gioăng 8 - Vòng đệm 9- Thân van 10- Cổng 11 - Nêm trên


2) Van cổng nêm gốc chìm: Như hình 2, bề mặt bịt kín của van này nghiêng và tạo thành một Góc. Nhiệt độ trung bình càng cao thì Góc càng lớn. Tấm cổng nêm được phân loại thành tấm cổng đơn, tấm cổng đôi và tấm cổng đàn hồi, như thể hiện lần lượt trên Hình 2a, b và c. Việc xử lý, mài và bảo trì tấm cổng nêm phức tạp hơn so với tấm cổng song song nhưng chúng có hiệu suất bịt kín tốt hơn.


Hình 2 Van cổng nêm gốc chìm


a) Tấm cổng nêm đơn b) Tấm cổng nêm đôi c) Tấm cổng đàn hồi nêm


1. Tay quay 2. Đèn báo 3. Nắp 4. Hộp nhồi 5. Đóng gói 6. Nắp van

7- Thân van 8 - Đai ốc thân van 9, 12 - Vòng đệm 10 - Thân van 11 - Tấm cổng 13 - Gioăng


Van cổng đàn hồi được thể hiện trong Hình 3. Nó có ưu điểm là cấu trúc đơn giản và cách sử dụng đáng tin cậy, đồng thời có thể tạo ra một biến dạng đàn hồi nhỏ, làm tăng độ kín khi đóng.



Hình 3 Van cổng đàn hồi


1. Tay quay 2- đai ốc trục van 3 - đệm kín 4 - đệm kín 5 - nắp van 6 - đệm kín

7- Thân van 8 Tấm cổng 9 - Vòng đệm 10 - Thân van 11 - Bu lông nối


Trong van cổng trục nâng, ren của thân van khớp với đai ốc tay áo được trang bị tay quay. Đầu dưới của thân van có đầu hình vuông, gắn vào tấm cổng. Khi quay tay quay, thân van và tấm cổng sẽ di chuyển lên xuống. Khi mở, thân van nhô ra khỏi tay quay. Ưu điểm là mức độ mở của van có thể được đánh giá dựa trên chiều dài kéo dài của thân van và thân van không tiếp xúc trực tiếp với môi trường truyền tải. Hạn chế là van có chiều cao mở lớn, vị trí lắp đặt phải có đủ không gian để thân van mở rộng ra bên ngoài. Khi cài đặt trên trang web, hãy nhớ chú ý đến điểm này. Ren ngoài của thân van của van cổng gốc ẩn khớp với ren trong được gắn vào van. Vì vậy, khi quay tay quay thì thân van cũng quay làm cho cổng bên trong van chuyển động lên xuống nhưng thân van không thể chuyển động lên xuống. Van cổng gốc giấu kín chiếm ít không gian hơn trong quá trình lắp đặt. Môi trường truyền tải tiếp xúc trực tiếp với thân van và không thể đánh giá mức độ mở của van thông qua thân van. Dù là van cổng gốc tăng hay van cổng gốc không tăng thì van cổng phải được lắp đặt theo chiều ngang. Thân van phải thẳng đứng hướng lên trên và không nghiêng. Nghiêm cấm lắp thân van hướng xuống dưới.



Tin tức liên quan
Để lại cho tôi một tin nhắn
X
Chúng tôi sử dụng cookie để cung cấp cho bạn trải nghiệm duyệt web tốt hơn, phân tích lưu lượng truy cập trang web và cá nhân hóa nội dung. Bằng cách sử dụng trang web này, bạn đồng ý với việc chúng tôi sử dụng cookie. Chính sách bảo mật
Từ chối Chấp nhận